Жидкостные предпусковые подогреватели
Подогреватель жидкостный предпусковой Бинар 5s-12В Comfort бензиновый Монтажный комплект с модемом autoterm ECO 2G и салонным пультом управления ПУ-40 LED
38000руб.
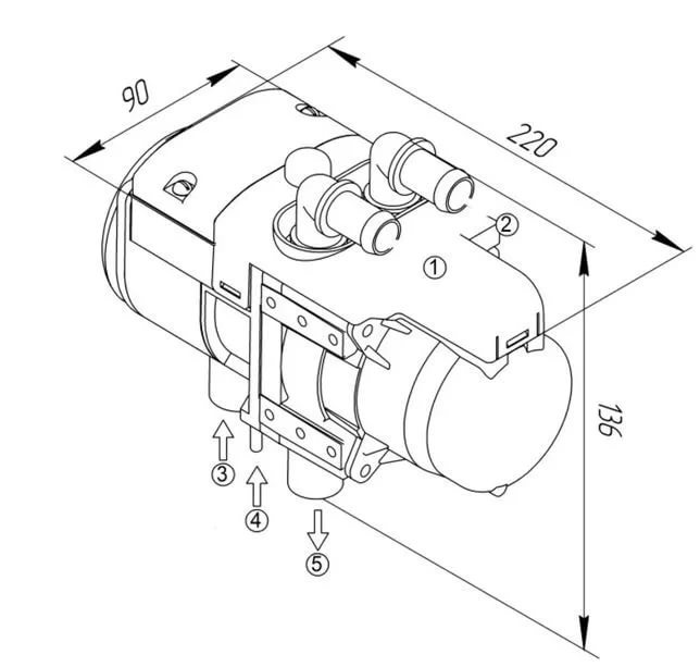
Бинар 5S - универсальный жидкостный предпусковой подогреватель, работает независимо от двигателя. Подходит практически на любое транспортное средство и устанавливается в системе охлаждения автомобиля.
Бинар 5S предназначен для предварительного нагрева двигателя, что исключает холодный запуск и продлевает его срок службы. Отлично подойдет для прогрева двигателя с объёмом охлаждающей жидкости до 15 литров.
В жидкостный подогреватель подается воздух, который проходит через воздухозаборник и направляется в камеру сгорания. Затем воздух смешивается с топливом, которое подается дозирующим топливным насосом для образования топливно-воздушной смеси. Полученная смесь поджигается свечой накаливания, которая запускает процесс горения, чтобы нагреть теплообменник. Охлаждающая жидкость или любой другой теплоноситель, прокачиваемый электронасосом (помпой), проходит через теплообменник и в результате нагревается.
Функция догревателя в чрезвычайно холодных условиях автоматически помогает двигателю достигать и поддерживать заданную рабочую температуру, если она не может быть достигнута самим двигателем.
Подогреватель с определенным ПО может также использоваться в качестве обогревателя для автономных радиаторных систем отопления с максимальной вместимостью теплоносителя 30 литров. Так же мы рекомендуем этот подогреватель тем, кто хочет использовать его в качестве нагревателя в жидкостной системе отопления автодомов / кемперов, катеров и яхт.
Пульт-таймер ПУ-40 устанавливается в салоне автомобиля. Позволяет настраивать режим работы, таймер на запуск, и просматривать рабочие характеристики в реальном времени. OLED экран информативный и удобный.
Комплектация:
Преимущества подогревателя «Бинар-5S»:
Бинар 5S предназначен для предварительного нагрева двигателя, что исключает холодный запуск и продлевает его срок службы. Отлично подойдет для прогрева двигателя с объёмом охлаждающей жидкости до 15 литров.
В жидкостный подогреватель подается воздух, который проходит через воздухозаборник и направляется в камеру сгорания. Затем воздух смешивается с топливом, которое подается дозирующим топливным насосом для образования топливно-воздушной смеси. Полученная смесь поджигается свечой накаливания, которая запускает процесс горения, чтобы нагреть теплообменник. Охлаждающая жидкость или любой другой теплоноситель, прокачиваемый электронасосом (помпой), проходит через теплообменник и в результате нагревается.
Функция догревателя в чрезвычайно холодных условиях автоматически помогает двигателю достигать и поддерживать заданную рабочую температуру, если она не может быть достигнута самим двигателем.
Подогреватель с определенным ПО может также использоваться в качестве обогревателя для автономных радиаторных систем отопления с максимальной вместимостью теплоносителя 30 литров. Так же мы рекомендуем этот подогреватель тем, кто хочет использовать его в качестве нагревателя в жидкостной системе отопления автодомов / кемперов, катеров и яхт.
Пульт-таймер ПУ-40 устанавливается в салоне автомобиля. Позволяет настраивать режим работы, таймер на запуск, и просматривать рабочие характеристики в реальном времени. OLED экран информативный и удобный.
Комплектация:
- Подогреватель Бинар Бензиновый;
- Пульт-таймер ПУ-40 в салон автомобиля;
- Модем ECO;
- Циркуляционный насос (помпа);
- Топливный насос ТН-9 - 4,0мл - 12В. Производство Россия;
- Жгуты всей необходимой электропроводки;
- Шланг тосольный;
- Топливозаборник в штатный бак автомобиля;
- Кронштейн крепления с амортизатором;
- Труба выхлопная;
- Теплоизоляция;
- Топливопровод L= 6м;
- Воздухозаборник с глушителем;
- Монтажные комплекты: воздухозаборника, циркуляционного насоса, жгутов, топливной системы, выхлопной системы, системы охлаждения;
- Документация: гарантийный талон, инструкция по монтажу, инструкция по эксплуатации, упаковочный лист.
Преимущества подогревателя «Бинар-5S»:
- Компактность;
- Выбор положения монтажа;
- Функция догревателя;
- Управление с пульта-таймера;
- Управление при помощи сигнализации;
- Управление при помощи SMS-команд, голосовых вызовов или через мобильное приложение при подключении GSM-модема;
- Совместная работа со штатным отопителем салона;
- Самодиагностика;
- Доступная цена и высокое качество;
- Сервисное обслуживание во всех регионах;
- Гарантия 18 месяцев;
- Произведено в России.
| БИНАР-5 | МОДЕЛЬ | |
|---|---|---|
| ТЕХНИЧЕСКИЕ ХАРАКТЕРИСТИКИ | BINAR-5S | BINAR-5S DIESEL |
| Теплопроизводительность, кВт | 5±0,5 | |
| Номинальное напряжение питания, В | 12 | |
| Рабочий диапазон напряжения питания, В | 9,5...16 | |
| Вид топлива | бензин (ГОСТ Р 51105) | дизельное топливо (ГОСТ 305) |
| Расход топлива (не более), л/час | 0,7 | 0,62 |
| Теплоноситель | тосол, антифриз | |
| Потребляемая электрическая мощность вместе с помпой (не более), Вт | 42 | |
| Потребляемая мощность при запуске (100 сек), Вт | 122 | |
| Режим запуска | Ручной или автоматический пульт-таймер | |
| Время работы одного цикла, мин | 20...120 | |
| Масса подогревателя со всеми комплектующими элементами, кг, не более | 8 | |
Блок управления для Бинар 5S - 12В Бензин ( старая сб. 3188 , 4337 )
сб. 4377
6750руб.
Купить
Втулка свечи накаливания
д. 3235
220руб.
Купить
Датчик температуры Бинар 5S
сб. 3111
1020руб.
Купить
Жгут питания Бинар 5S - 12В
сб. 4322
3460руб.
Купить
Индикатор пламени сб.3113
сб. 3113
510руб.
Купить
Камера сгорания для Бинар 5S Бензин
сб. 3134
4280руб.
Купить
Комплект реле для Бинар 5S-12В
сб. 3265
2370руб.
Купить
Комплект ремонтный для Бинар 5S
сб. 3673
310руб.
Купить
Комплект ремонтный для Бинар 5S
сб. 4258
310руб.
Купить
Корпус для Бинар 5S
д. 3230
1240руб.
Купить
Кронштейн крепежный с амортизатором
сб. 3219
410руб.
Купить
Кольцо резиновое уплотнительное
д. 64
50руб.
Купить
Крышка датчиков
д. 3223
220руб.
Купить
Нагнетатель воздуха для Бинар 5S - 12В (Молекс)
сб. 4544
8070руб.
Купить
Нагнетатель воздуха для Бинар 5S - 12В
сб. 3135
8070руб.
Купить
Оболочка
д. 3
180руб.
Купить
Патрубок прямой Ø 18 мм
д. 6695
80руб.
Купить
Патрубок угловой Ø 18 мм
д. 3224
90руб.
Купить
Патрубок угловой Ø 18 мм 90°
д. 3490
110руб.
Купить
Прижим
д. 3225
60руб.
Купить
Прижим для датчика
д. 3234
60руб.
Купить
Свеча накаливания 24В (18В) GP для Бинар 5S - 24В
сб. 3112
3460руб.
Купить
Свеча накаливания 12В (9В) GP для Бинар 5S - 12В
сб. 3136
3300руб.
Купить
Сетка
сб. 3129
140руб.
Купить
Теплообменник Бинар 5S
д. 3231
2070руб.
Купить
Труба выхлопная с наконечником L=1 м
сб. 2708
2470руб.
Купить
Циркуляционный насос П9Н-12В для Бинар 5S
сб. 10450
4200руб.
Купить
Шланг тосольный ø 18 мм L=2 м
д. 5260
1800руб.
Купить
Топливный насос ТН9 - 4,0 мл - 12В Бензин
сб. 3350
2670руб.
Купить
Топливный насос ТН9 - 4,4 мл - 12В Дизель
сб. 3635
2670руб.
Купить
Топливный насос ТН11 - 4,4 мл - 12В Дизель
сб. 4155
3330руб.
Купить
